本实用新型涉及打孔装置技术领域,具体为一种黄花远志茶叶种植用打孔装置。
背景技术:
茶叶源于中国,茶叶最早是被作为祭品使用的。但从春秋后期就被人们作为菜食,在西汉中期发展为药用,西汉后期才发展为宫廷高级饮料,普及民间作为普通饮料那是西晋以后的事。发现最早人工种植茶叶的遗迹在浙江余姚的田螺山遗址,已有6000多年的历史。饮茶始于中国。叶革质,长圆形或椭圆形,可以用开水直接泡饮,依据品种和制作方式以及产品外形分成六大类。依据季节采制可分为春茶、夏茶、秋茶、冬茶。以各种毛茶或精制茶叶再加工形成再加茶,包括分为花茶、紧压茶、萃取茶、药用保健茶、茶食品、含茶饮料等。
茶树种植的自然条件包括地貌、气候、土壤类型等。地形以丘陵为主,排水条件要好。降水充沛,年温差小、日夜温差大,无霜期长,光照条件好,这样的气候条件适宜各种类型的茶树生长,尤其适合大叶种茶树生长。冬末至夏初日照比较多,夏秋雨多雾大(云南茶区),日照较少利于茶树越冬和养分积累,利于夏秋茶的品质。砖红壤、砖红壤性红壤、山地红壤或山地黄壤、棕色森林土,这些土壤发育程度较深,结构良好,适合茶树生长。
茶叶在种植的过程中往往需要进行打孔,而目前市场上的打孔机效果不够理想,也十分麻烦。
技术实现要素:
本实用新型的目的在于提供一种黄花远志茶叶种植用打孔装置,以解决上述背景技术中提出的问题。
为实现上述目的,本实用新型提供如下技术方案:
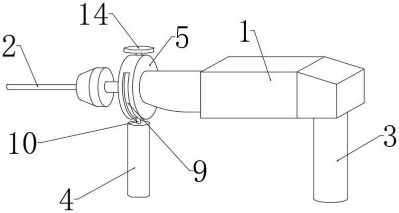
一种黄花远志茶叶种植用打孔装置,包括底座、固定座和播种箱,所述底座底部固定安装有轮子,所述底座的四周均固定安装有套筒,所述套筒的顶部固定安装有调节栓,所述套筒的底部固定安装有固定座,所述底座的正下方固定安装出料口,所述出料口的底部固定安装有打孔钻头,所述底座的内部固定安装有播种腔,所述底座的顶部固定安装有播种箱,所述播种箱的外侧固定安装有透明观察窗,所述播种箱两侧的侧壁上均固定安装有滑槽,所述滑槽的内部固定安装有连接杆,所述连接杆的一侧固定安装有拉把,所述播种箱左侧的侧壁上固定安装有入料口,所述播种箱内部的顶部固定安装有电机,所述电机与连接杆之间的连接处固定安装有固定块,所述电机的底部固定安装有旋转轴,所述旋转轴的四周固定安装有螺旋扇叶。
优选的,所述轮子共设四个,均分布在底座底部的四个拐角处,且所述轮子为万向轮。

优选的,所述连接杆插接在滑槽的内部。
优选的,所述电机的输出端与旋转轴之间传动连接,且打孔钻头固定安装在旋转轴的底部上。
优选的,所述固定座插接在套筒的底部上。
优选的,所述旋转轴贯穿播种腔和出料口,且螺旋扇叶套设在旋转轴的外侧上。
与现有技术相比,本实用新型的有益效果是:
1.本实用新型中,通过设置套筒,能够通过调节栓来控制固定座,使固定座延伸,将装置固定在地面上,使播种的过程更加的稳定,提高了播种的效率,也提高了种子的发芽率。
2.本实用新型中,通过设置连接杆,能够通过连接杆在滑槽中移动来调节电机的高度,从而达到控制打孔深度的目的,能够使种子播种到土地较深、水分较为充足的地方,有效的提高了茶叶的生长效率,也能够提高茶叶的收成。
3.本实用新型中,通过设置螺旋扇叶,能够使旋转轴带动螺旋扇叶,将播种腔中的种子从出料口中带出,进行播种,有效的提高了播种的效率,节约了大量的人力物力以及大量的时间。
附图说明
图1为本实用新型整体结构示意图;
图2为本实用新型内部结构示意图;

图3为本实用新型播种箱侧视图;
图中:1.底座;2.调节栓;3.套筒;4.固定座;5.入料口;6.播种箱;7.透明观察窗;8.连接杆;9.拉把;10.出料口;11.打孔钻头;12.轮子;13.固定块;14.电机;15.旋转轴;16.螺旋扇叶;17.播种腔;18.滑槽。
具体实施方式
下面将结合本实用新型实施例中的附图,对本实用新型实施例中的技术方案进行清楚、完整地描述,显然,所描述的实施例仅仅是本实用新型一部分实施例,而不是全部的实施例,基于本实用新型中的实施例,本领域普通技术人员在没有做出创造性劳动前提下所获得的所有其他实施例,都属于本实用新型保护的范围。
请参阅图1-3,本实用新型提供一种技术方案:
一种黄花远志茶叶种植用打孔装置,包括底座1、固定座4和播种箱6,底座1底部固定安装有轮子12,轮子12共设四个,均分布在底座1底部的四个拐角处,且轮子12为万向轮,底座1的四周均固定安装有套筒3,能够通过调节栓2来控制固定座4,使固定座4延伸,将装置固定在地面上,使播种的过程更加的稳定,提高了播种的效率,也提高了种子的发芽率,套筒3的顶部固定安装有调节栓2,套筒3的底部固定安装有固定座4,固定座4插接在套筒3的底部上,底座1的正下方固定安装出料口10,出料口10的底部固定安装有打孔钻头11,底座1的内部固定安装有播种腔17,底座1的顶部固定安装有播种箱6,播种箱6的外侧固定安装有透明观察窗7,播种箱6两侧的侧壁上均固定安装有滑槽18,滑槽18的内部固定安装有连接杆8,能够通过连接杆8在滑槽18中移动来调节电机14的高度,从而达到控制打孔深度的目的,能够使种子播种到土地较深、水分较为充足的地方,有效的提高了茶叶的生长效率,也能够提高茶叶的收成,连接杆8插接在滑槽18的内部,连接杆8的一侧固定安装有拉把9,播种箱6左侧的侧壁上固定安装有入料口5,播种箱6内部的顶部固定安装有电机14,电机14与连接杆8之间的连接处固定安装有固定块13,电机14的底部固定安装有旋转轴15,电机14的输出端与旋转轴15之间传动连接,且打孔钻头11固定安装在旋转轴15的底部上,旋转轴15的四周固定安装有螺旋扇叶16,能够使旋转轴15带动螺旋扇叶16,将播种腔17中的种子从出料口10中带出,进行播种,有效的提高了播种的效率,节约了大量的人力物力以及大量的时间,旋转轴15贯穿播种腔17和出料口10,且螺旋扇叶16套设在旋转轴15的外侧上。
本实用新型工作流程:使用时,通过入料口5将种子倒入播种箱6中,套筒3能够通过调节栓2来控制固定座4,使固定座4延伸,将装置固定在地面上,使播种的过程更加的稳定,提高了播种的效率,也提高了种子的发芽率,连接杆8能够通过连接杆8在滑槽18中移动来调节电机14的高度,从而达到控制打孔深度的目的,能够使种子播种到土地较深、水分较为充足的地方,有效的提高了茶叶的生长效率,也能够提高茶叶的收成,通过设置螺旋扇叶16,能够使旋转轴15带动螺旋扇叶16,将播种腔17中的种子从出料口10中带出,进行播种,有效的提高了播种的效率,节约了大量的人力物力以及大量的时间,本装置结构简单,播种效率快,且发芽率较高。
尽管已经示出和描述了本实用新型的实施例,对于本领域的普通技术人员而言,可以理解在不脱离本实用新型的原理和精神的情况下可以对这些实施例进行多种变化、修改、替换和变型,本实用新型的范围由所附权利要求及其等同物限定。
技术特征:
1.一种黄花远志茶叶种植用打孔装置,包括底座(1)、固定座(4)和播种箱(6),其特征在于:所述底座(1)底部固定安装有轮子(12),所述底座(1)的四周均固定安装有套筒(3),所述套筒(3)的顶部固定安装有调节栓(2),所述套筒(3)的底部固定安装有固定座(4),所述底座(1)的正下方固定安装出料口(10),所述出料口(10)的底部固定安装有打孔钻头(11),所述底座(1)的内部固定安装有播种腔(17),所述底座(1)的顶部固定安装有播种箱(6),所述播种箱(6)的外侧固定安装有透明观察窗(7),所述播种箱(6)两侧的侧壁上均固定安装有滑槽(18),所述滑槽(18)的内部固定安装有连接杆(8),所述连接杆(8)的一侧固定安装有拉把(9),所述播种箱(6)左侧的侧壁上固定安装有入料口(5),所述播种箱(6)内部的顶部固定安装有电机(14),所述电机(14)与连接杆(8)之间的连接处固定安装有固定块(13),所述电机(14)的底部固定安装有旋转轴(15),所述旋转轴(15)的四周固定安装有螺旋扇叶(16)。
2.根据权利要求1所述的一种黄花远志茶叶种植用打孔装置,其特征在于:所述轮子(12)共设四个,均分布在底座(1)底部的四个拐角处,且所述轮子(12)为万向轮。

3.根据权利要求1所述的一种黄花远志茶叶种植用打孔装置,其特征在于:所述连接杆(8)插接在滑槽(18)的内部。
4.根据权利要求1所述的一种黄花远志茶叶种植用打孔装置,其特征在于:所述电机(14)的输出端与旋转轴(15)之间传动连接,且打孔钻头(11)固定安装在旋转轴(15)的底部上。
5.根据权利要求1所述的一种黄花远志茶叶种植用打孔装置,其特征在于:所述固定座(4)插接在套筒(3)的底部上。
6.根据权利要求1所述的一种黄花远志茶叶种植用打孔装置,其特征在于:所述旋转轴(15)贯穿播种腔(17)和出料口(10),且螺旋扇叶(16)套设在旋转轴(15)的外侧上。
技术总结
本实用新型涉及打孔装置技术领域,具体为一种黄花远志茶叶种植用打孔装置,包括底座、固定座和播种箱,所述底座的四周均固定安装有套筒,所述套筒的顶部固定安装有调节栓,所述套筒的底部固定安装有固定座,所述出料口的底部固定安装有打孔钻头,所述底座的内部固定安装有播种腔,所述底座的顶部固定安装有播种箱,所述播种箱两侧的侧壁上均固定安装有滑槽,所述滑槽的内部固定安装有连接杆,所述播种箱左侧的侧壁上固定安装有入料口,所述播种箱内部的顶部固定安装有电机,所述电机与连接杆之间的连接处固定安装有固定座,所述电机的底部固定安装有旋转轴,所述旋转轴的四周固定安装有螺旋扇叶,本装置结构简单,播种效率快,且发芽率较高。
技术研发人员:寇森林
受保护的技术使用者:德化县绿佳农产品有限责任公司
技术研发日:2019.08.02
技术公布日:2020.05.08



















